Apple có bằng sáng chế về iPhone màn hình gập, thêm dải hiển thị thông báo
Apple có bằng sáng chế về iPhone màn hình gập, thêm dải hiển thị thông báo

Những năm gần đây, Apple được đồn đoán rằng sẽ cho ra mắt iPhone màn hình gập, vì có thông tin Apple đang đầu tư cũng như nghiên cứu các công nghệ liên quan tới màn hình gập trong vài năm gần đây. Mặc dù cho đến nay, iPhone vẫn chưa có động thái gì về sự ra mắt của thiết bị có màn hình gập.
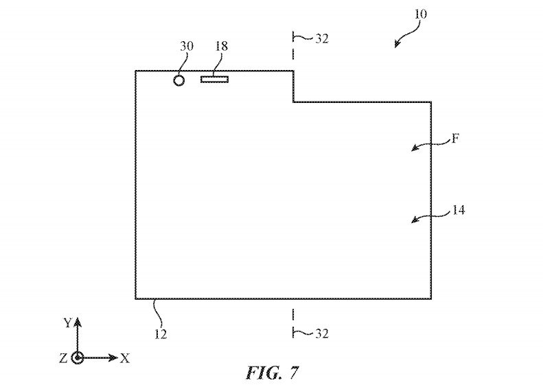
Vào thứ 3 vừa qua, một bằng sáng chế của Apple đã được cấp bởi Văn phòng Bằng Sáng chế và Thương hiệu Hoa Kỳ, có tên là " Thiết bị điện tử có màn hình gập và với vùng hiển thị lộ ra ngoài" của hai nhà phát minh Paul S. Drzaic và Hoon Sik Kim nhằm cải thiện chức năng cho màn hình gập.
Một trong những lợi thế của màn hình gập lại có thể tiết kiệm không gian, dễ dàng hơn khi bỏ vào túi. Bên cạnh đó nó cũng sẽ giúp bảo vệ màn hình hơn vì đã gập màn hình chính vào bên trong. Tuy nhiên, ưu điểm đó cũng trở thành khuyết điểm khi màn hình chính đã đóng vào, người dùng không thể thấy được những thông báo cụ thể. Vì vậy, Apple cho rằng vùng hiển thị (hay còn gọi là phần tab phụ) này sẽ cung cấp các thông báo trực quan hơn về thông báo tin nhắn hay cuộc gọi mặc dù đã gập màn hình chính vào bên trong.

Apple đề xuất khá nhiều ý tưởng khá nhau trong bằng sáng chế. Một trong những ý tưởng đó là việc dịch chuyển điểm gấp khỏi đường trung tâm của màn hình, để có thể lộ được phần hiển thị ra ngoài. Bên cạnh đó, Apple cũng đưa ra nhiều khái niệm và đề xuất chú trọng vào màn hình và phần tab phụ. Để làm cho thiết bị trở nên hữu ích hơn khi gập lại, Apple cũng sẽ cung cấp vài tính năng trong dải tab phụ bao gồm máy ảnh, loa, cảm biến ánh sáng xung quanh và cảm biến cảm ứng.

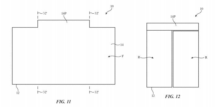
Một ý tưởng khác là thiết bị sẽ có hai màn hình, trong đó màn hình định hướng ngang có các điểm gấp tại các điểm một phần tư và ba phần tư chiều dài của nó. Có nghĩa là màn hình ngang có thể gấp lại hai lần và các đầu cực của màn hình gập vào trong sẽ trùng với đường trung tâm. Một tab phụ mở rộng có màn hình hiển thị chạy dọc chiều dài của màn hình, hiển thị các tính năng và các thông báo, tương tự như thiết kế màn hình của Galaxy Note Edge của Samsung.

Hai bên có thể gấp lại, để lại một dải tab phụ lộ ra ở phía trên
Hằng tuần, Apple nộp rất nhiều đơn xin cấp bằng sáng chế, cho thấy nỗ lực nghiên cứu và phát triển của Apple. Bên cạnh việc nghiên cứu liên quan đến màn hình gập như kết hợp các vật liệu hay sử dụng bán kính cong lớn hơn để có thể chịu được sử uốn cong để bảo vệ cả màn hình và thiết bị. Apple cũng mở rộng nghiên cứu sang pin linh hoạt, cho phép thiết bị cung cấp năng lương màn không làm giảm tuổi thọ pin bằng cách tính toán độ uốn cong.
Tuy nhiên, đây vẫn chỉ là bằng sáng chế, còn việc Apple thât sự áp dụng những sáng chế trên vào các thiết bị vẫn còn là một ẩn số, và chúng ta vẫn còn phải chờ thêm.
Theo Tinhte.vn
Danh mục tin tức
Tin tức nổi bật
Trung Quốc ra chuẩn GPMI thay thế HDMI
10/04/2025
Thông số Kỹ thuật Các Model Robot Yeedi
13/06/2024
RoboRock Q Revo Đánh giá chi tiết năm 2024
12/03/2024
Thông số Kỹ thuật Các Model Robot Xiaomi
07/03/2024